Electrical Circuit
An electrical circuit is a closed path created of conductive material, which establishes relationships between electrical source and load, and provides the flow of current or electricity. The electrical components include active and passive and are interconnected with wires in a circuit. Active components include transistors, batteries, and passive ones are resistors, capacitors, inductors, etc. Electric wires or conductors connect the load to the power source through a switch and a small or negligible internal resistance.
The electrical sources provide voltage and are direct current (DC) or alternating current (AC). DC includes batteries, solar cells, while most household circuits transmit AC. Direct-current circuits carry current that flows only in one direction, while alternating-current circuits carry current that pulsates back and forward many times per second.
The lamps, LEDs, bulbs, CFLs, fans, and motors are the load in the circuit. They convert the electric potential energy to light, heat, or another form. Inductors, resistors, and capacitors are also electric loads and help to control electricity.
Electrical circuits also include transistors to amplify or switch electrical power, switches that help to break the continuous loop (open and close the electric circuit), and protective devices like fuses that break a circuit when the current gets too high or overload occurs to prevent a fire.
When the wire is connected to a battery, free electrons are driven from the negative terminal toward the positive terminal of the battery forced by the electromotive force called voltage. This motion of electrons is an electric current. The current flows only when the switch is closed and there is no flow of current when the switch is open. However, each circuit has some resistance to the flow of electrons.
An electrical circuit is used for the transmission, storage, and conversion of energy from one or more sources. Energy is converted to electrical form from electromagnetic, thermal, chemical, or mechanical form, and is carried through an electrical circuit using electrical charge and the medium of magnetic and electric fields. The behavior of any electrical circuit is defined by Ohm’s law and Kirchhoff’s rules.
Example 1. Electrical Circuit Design in ConceptDraw DIAGRAM
The main types of electrical circuits include:
- Close circuit is a circuit providing a continuous path for flowing current. It has no interruption and the value of the current flow depends on the load.
- Open circuit has no flowing current, it is a circuit with an electronic component switched off, a blown fuse or a faulty electrical wire.
- Short circuit occurs when positive and negative points of the voltage source in a circuit are joined together for some reason. In this case, a return path for the current to flow exists, the resistance equals zero, and the current gains its maximum. In absence of protection, the short circuit may cause damage to electrical devices and injuries.
- Series circuit includes two or more loads, connected in a series one after another in a single loop, and current passes through all of the components. If one of the loads is broken or gets the fuse, the entire circuit fails and the rest devices will not get a power supply.
- Parallel circuit includes a single source of voltage and two or more loads, connected in parallel. The voltage of all loads is equal to the input supply and if one load faults, then the rest still get a power supply and can operate.
Combinations of circuits of different kinds are also possible. For example, series and parallel circuits together form a series-parallel circuit.
Electric circuits have a wide practical application everywhere in our daily live. The lights are connected to the electrical circuit, numerous devices and appliances are plugged into wall sockets. All they use electricity and each light or appliance in a household electrical circuit receives the same voltage. However, the amount of taken current varies depending on their individual power requirements.
Example 2. Power Circuits Solution Libraries Design Elements
Circuit diagrams, Pictorial Diagrams, and Electric Circuit Schematics are visual ways to display electrical circuits to electricians or any other technical audience. They are created using standard electrical symbols. ConceptDraw DIAGRAM software with the Power Сircuits solution includes them in plenty providing you the possibility to create clear, visual, and accurate Electrical Circuit diagrams and schematics in a few minutes. You can develop equally easy 12-Pulse Thyristor Rectifier Circuit, Electric AC Motor Circuit, Alternator Circuit Diagram, AC Chopper Electrical Circuit, and many more other electrical circuits.
Power Сircuits solution contains 10 libraries:
- Electrical Motors
- Synchro Motors 3-Phase Motors
- Motor Starters
- Power Stations
- Electric Generators
- Power Switching
- Three Phase Transformers
- Transformers Single Line Notation
- Windings Connections
- Transmission Lines Electrical Distribution
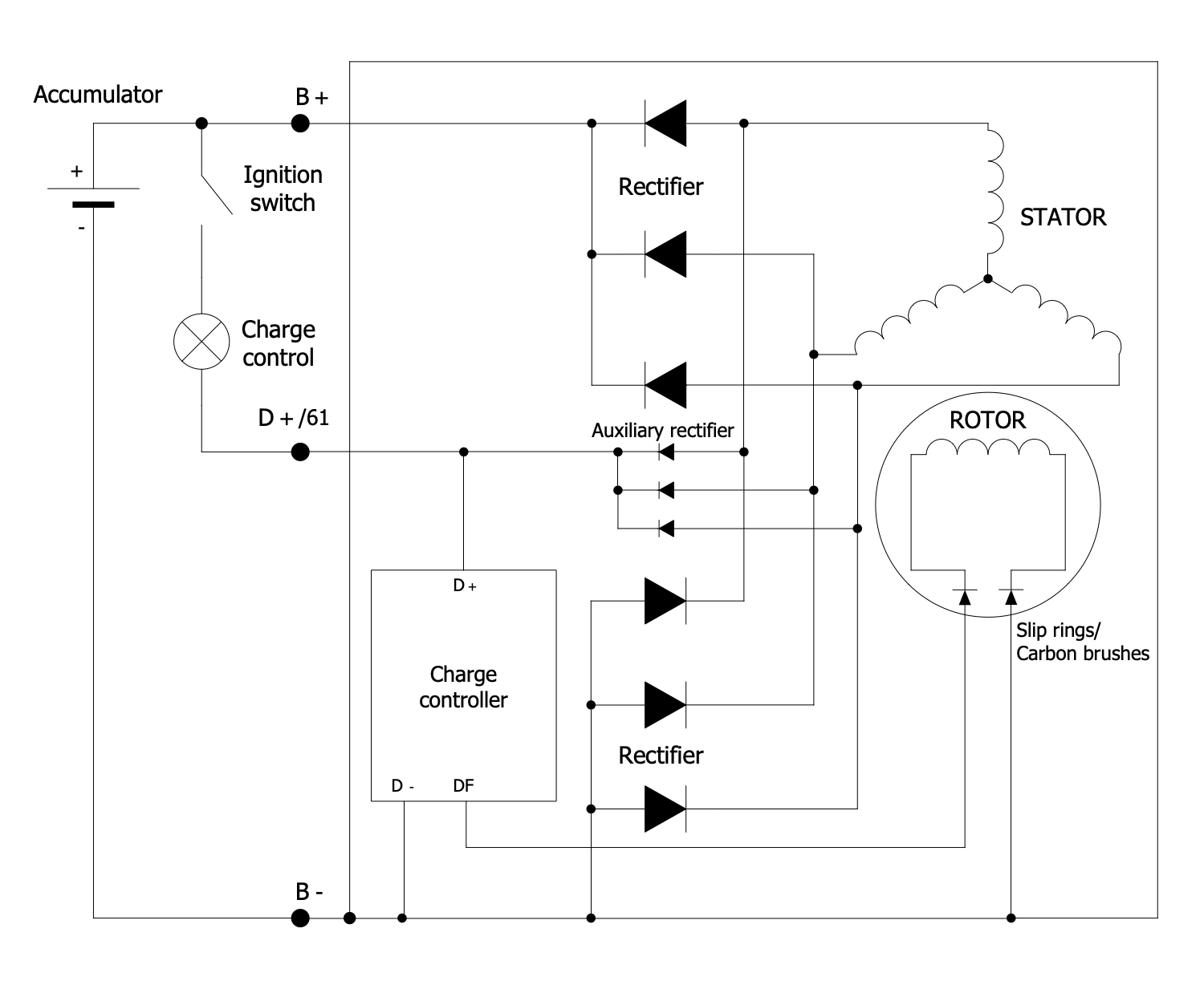
Example 3. Alternator Circuit Diagram
The Electrical circuit samples you see on this page were created in ConceptDraw DIAGRAM software using the drawing tools of the Power Сircuits Solution. These examples successfully demonstrate the solution's capabilities and the professional results you can achieve using it. An experienced user spent 5-10 minutes creating each of these samples.
Use the drawing tools of the Power Сircuits solution to design your own Electrical Circuit diagrams, schematics, and layouts quick, easy, and effective.
All source documents are vector graphic documents. They are available for reviewing, modifying, or converting to a variety of formats (PDF file, MS PowerPoint, MS Visio, and many other graphic formats) from the ConceptDraw STORE. The Power Сircuits Solution is available for ConceptDraw DIAGRAM users.




